Electrical Connections

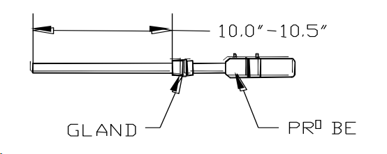
Insert the probe into the coupling at the base of the large box.  It is important that the probe is inserted at the correct depth to allow proper heating and prevent damage to the ceramic well inside the unit.  There should be between 10.0” and 10.5” between the bottom of the adjustable 1” NPT gland and the end of the probe (see sketch below).

 

 


Once the probe has been inserted into the heater, make the necessary electrical connections at the head of the probe.  The green thermocouple wire from the electrical enclosure box should be attached to the thermocouple connection at the head of the probe (Positive (+) = Black and Negative (-) = Red).  The sensor wire should also be attached to the probe  (Positive (+) = Black and Negative (-) = White).

 

This unit has been pre-configured and tested prior to shipment.  To maximize the accuracy and longevity of the Heated Probe, it is recommended that the unit be operated at 1500°F.  It is also possible to configure the HP to match the temperature of your furnace.